首页
专利市场
求购专利
需求大厅
技术成果
专家智库
业务范围
关于我们
知产系统
登录
个人中心
中文
: 选择语言
中文
英语
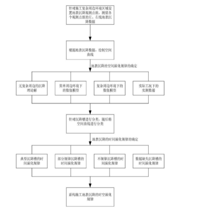
盾构施工地表沉降形态分类方法及系统
预算价格:
面议
技术领域:
盾构施工
专利类型:
发明专利
交易类型:
转让,普通许可,独占许可,排他许可
专利 ·
详情
Patent details
专利状态
申请号
申请日
已发证
2020100795911
2020-02-04
专利经纪人
在线咨询
猜你需要
一种碳纳米材料修饰的电化学传感器的制备方法及应用
一种具有温度控制精度高的化工蒸发釜
一种木材制造用烘干机械
一种三阀门控制开度幅度变化的四流体管壳式换热器
一种集培育种植于一体的沉水植物种植装置
一种拉链制作设备
移印机旋转结构制作方法
一种隧道施工用脚手架
一种简易可靠的水辅助注塑工艺水气注排控制阀
一种晶体裂纹检测装置及其监测方法