首页
专利市场
求购专利
需求大厅
技术成果
专家智库
业务范围
关于我们
知产系统
登录
个人中心
中文
: 选择语言
中文
英语
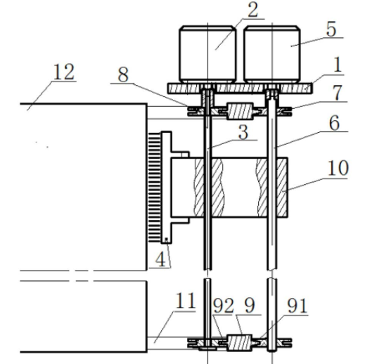
一种空调器室外机散热片除尘除霜自动清扫装置
预算价格:
面议
技术领域:
空调
专利类型:
发明专利
交易类型:
转让,普通许可,独占许可,排他许可
专利 ·
详情
Patent details
专利状态
申请号
申请日
已发证
2018111047480
2018-09-21
专利经纪人
在线咨询
猜你需要
一种半导体器件结构
一种秸秆编织机的定量送料装置
一种干湿垃圾分类处理器及其处理方法
一种抗干扰能够降温防爆的变压器
一种炎症诱导蛋白组分、其制备方法及产品
一种硬质合金粉末锻压加工设备
一种园林专用可变形多功能小型铁锹
基于整体下滑方向的二维边坡稳定矢量和分析方法及系统
一种转轮式烟气处理装置及处理方法
一种基于互联网的纸质云系统及其应用方法